WGJ接中間軸鼓形齒聯軸器
發布于:2016/11/28
隸屬于:齒式聯軸器
WGJ鼓形齒聯軸器 特點及應用場合:具有少量軸線偏移補償性能,不能緩沖、減振。外形尺寸小,理論上傳遞轉矩大,需要潤滑、密封,但噪聲較大、價格貴,用于聯接水平兩同軸線軸系傳動。用于低速、重載工況條件下聯接水平兩同軸線,如冶金機械、重型機械等。不適用于高速、高精度的軸系傳動,起動頻繁、正反轉多變的工況不宜采用。
WG型--基本型;
WGP型--帶制動盤型,適用于與點盤式制動器配套;
WGZ型--帶制動輪型,適用于與瓦塊式制動器配套;
WGT型--接中間套型,適用于兩軸長距離聯接,許用轉速[n]取決于中間套的長度和質量,并應驗算臨界轉速;
WGC型--垂直安裝型,用于聯接垂直的兩軸線軸系傳動;
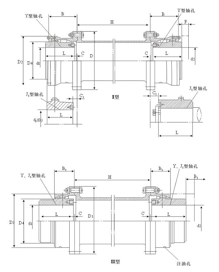
I型--密封端蓋為分離型,齒間距較大,可以允許較大的徑向位移,可與Y、J1、Z1型軸伸聯接;
II型--密封端蓋為整體型,齒間距小,相對允許徑向位移小,結構緊湊,轉動慣量小,可與Y、J1型軸伸聯接;
GICL型--基本型(寬型);
GIICL型--基本型(窄型);
GICLZ型--中間軸型(寬型);
GIICLZ型--中間軸型(窄型);
GICL、GIICL型,用于兩軸端直接聯接;
GICLZ、GILZ型,用于兩軸長距離聯接;
GCLD型--電機軸伸型,用于電機軸伸聯接;

WGJ接中間軸鼓形齒式聯軸器的參數及尺寸(JB/T 8821-1998):mm
